+7 (912)-751-33-24Заказать звонок
Заказать звонок

Оставьте Ваше сообщение и контактные данные и наши специалисты свяжутся с Вами в ближайшее рабочее время для решения Вашего вопроса.

Ваш телефон
Ваш телефон*
Ваше имя
Ваше имя

* - Поля, обязательные для заполнения

Сообщение отправлено
Ваше сообщение успешно отправлено. В ближайшее время с Вами свяжется наш специалист
Закрыть окно
arbatex@list.ru
Каталог товаров
Подписка на новости магазина

Подпишитесь на рассылку и получайте свежие новости и акции нашего магазина.

Описание товара:

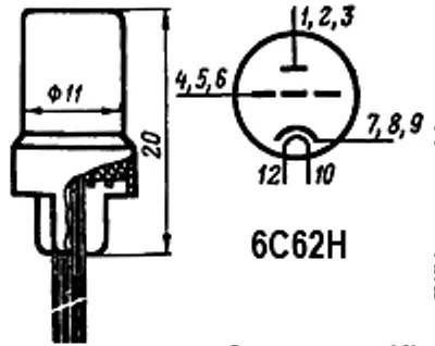
6С62Н триод-нувистор в миниатюрном металло-керамическом исполнении предназначен для усиления слабых сигналов. По конструкции состоит из вакуумно-герметичной, жесткой оболочки, внутри которой отсутствует кислород.
2 руб. / шт Цена не является конечной и требует уточнения у менеджера.
Загрузка
Рассчитываем стоимость доставки
Пожалуйста подождите, рассчет займет немного времени

Описание товара

Описание 6С62Н


6С62Н триод-нувистор в миниатюрном металло-керамическом исполнении предназначен для усиления слабых сигналов. По конструкции состоит из вакуумно-герметичной, жесткой оболочки, внутри которой отсутствует кислород.

Параметры и характеристики 6С62Н:


6С62Н
Сверхминиатюрный металлокерамический триод.
Предназначен для усиления слабых сигналов в устройствах широкого применения.
Долговечность не менее 2000 ч.
Масса не более 3 г.
Раположение штырьков РШ39.

Основные технические характеристики 6С62Н:
Номинальные электрические данные:
• Напряжение накала, В ...... 6,3 ±0,7
• Ток накала, мА ...... 135 ±25
• Напряжение на аноде, В ...... 120
• Ток в цепи анода, мА ...... 0,4
• Крутизна характеристики, мА/В ...... 1,7
• Коэффициент усиления ...... 90

Предельно допустимые электрические величины:
• Наибольшее напряжение на аноде, В ....... 250
• Наибольшее напряжение на аноде при запертой лампе, В ....... 330
• Напряжение в цепи сетки отрицательное, В ...... -55
• Наибольшая мощность, рассеиваемая на аноде, Вт ...... 1,2
• Наибольшее напряжение катод-подогреватель, В ..... 100
• Наибольшее сопротивление в цепи сетки, Мом ...... 10
Добавить отзыв
Ваша оценка:
Отправить отзыв

Похожие товары (8)

2 руб. / шт Цена не является конечной и требует уточнения у менеджера.
6С62Н радиолампа
Задать вопрос

Ваше имя*
Контактный телефон*
E-mail
Вопрос*

* - Поля, обязательные для заполнения

Сообщение отправлено
Ваше сообщение успешно отправлено. В ближайшее время с Вами свяжется наш специалист
Закрыть окно
Купить в один клик
Заполните данные для заказа
Запросить стоимость товара
Заполните данные для запроса цены
Запросить цену Запросить цену